Rátáil Reatha 80A go díreach
MID Deimhnithe
Aicme C Ardchruinneas
35mm DIN Iarnróid Feistithe
Aschur Pulse
4 Mhodúl Leithead 72mm
Le haghaidh Bainistíocht Fuinnimh IoT, Monarcha, Scoil
Tomhas Céim Aonair AC
80A Reatha Ionchur Díreach
CE-MID Deimhnithe
Rang 1 Cruinneas Ard
Suiteáil Iarnróid DIN
Cumarsáid RS485
Iarratas: Bainistíocht Fuinnimh IoT, Monarcha, Scoil
+86-18702106858 / +86-21-69156352
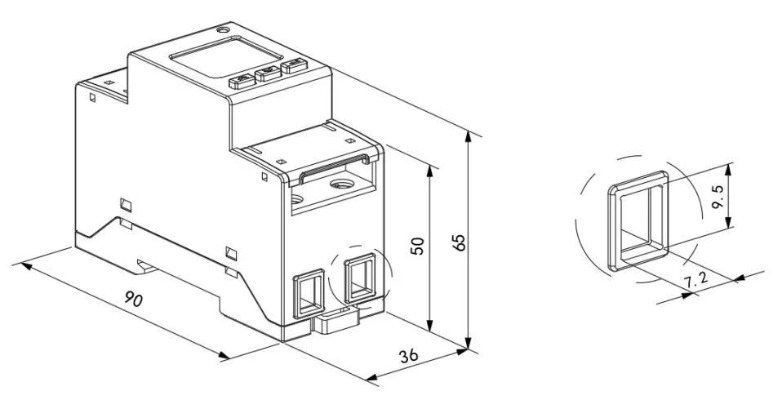
Is méadar fuinnimh dlúth agus ard-chruinneas é an méadar leictreach aon-chéim ADL200 atá deartha le haghaidh córais íseal-voltais. Tomhaiseann sé fuinneamh gníomhach aon phas agus paraiméadair leictreacha éagsúla cosúil le voltas, sruth, cumhacht, agus fachtóir cumhachta. Le taispeáint LCD 8-giotán, cuireann sé léamh soiléir ar fhuinneamh gníomhach i kWh dearfach agus diúltach. Tá comhéadan cumarsáide RS485 ag an méadar le prótacal MODBUS-RTU, rud a fhágann go bhfuil sé oiriúnach le haghaidh comhtháthú in ardáin IoT agus i gcórais bhainistíochta fuinnimh. Deimhnithe do chaighdeáin IEC62053-21 agus IEC62053-22, cinntíonn sé feidhmíocht agus cruinneas iontaofa. Déanann a shuiteáil iarnróid DIN agus fachtóir foirm beag é a imscaradh in iarratais éagsúla.
| Paraiméadair Theicniúla | Luach | |
| Voltas ionchuir | Voltas Tagartha | AC 220V |
| Minicíocht Tagartha | 50 Hz | |
| Tomhaltas Cumhachta | <10VA | |
| Ionchur Reatha | Reatha Bunúsach | 10A |
| Uasmhéid Reatha | 80A | |
| Reatha Tosaigh | 4‰ lb | |
| Tomhaltas | <4VA | |
| Feidhmíocht Tomhais | Cruinneas an Tomhais | Aicme 1 |
| Raon Tomhais | 000000.00-999999.99 kWh | |
| Cruinneas Clog | Earráid ≤0.5s/d | |
| Aschur | Leithead Pulse | 80±20ms |
| Pulse Tairiseach | 1000imp/kWh | |
| Coscán Uath-dhúnadh | Comhéadan | RS485 (A B-) |
| Mód Ceangail | Seile | |
| ded Seoltóirí Péire Twisted | ||
| Prótacal | Modbus-RTU | |
| L*W*H | 90*36*65mm | |
| Torc Críochfort Reatha Láidir | <1.8Nm | |
Bainistíocht Éifeachtúlachta Fuinnimh
Réiteach IoT EMS
Bunaithe sa bhliain 2003, is fiontar ardteicneolaíochta é Acrel Co., Ltd. 【Cód Stoic: 300286.SZ】 atá speisialaithe i réitigh bainistíochta fuinnimh agus sábháilteacht leictreach. Lonnaithe i Shanghai, cuireann Acrel réitigh nuálacha agus inbhuanaithe ar fáil maidir le héifeachtúlacht fuinnimh micreaghreille agus sábháilteacht leictreach. Le breis agus 600 paitinn agus cóipcheart bogearraí, tá níos mó ná 28,000 réiteach córais imscartha ag Acrel ar fud an domhain, ag cruthú ailtireacht idirlín fuinnimh chuimsitheach "imeall-néal".
Acrel Co., Ltd. is Mórdhíol na Síne AC Rochtain Dhíreach Céim Aonair DIN Iarnród Méadar Fuinnimh RS485 Monaróirí agus AC Rochtain Dhíreach Céim Aonair DIN Iarnród Méadar Fuinnimh RS485 Monarcha. Clúdaíonn éiceachóras táirgí comhtháite Acrel bogearraí ardáin scamall go comhpháirteanna úsáideora deiridh, ag clúdach earnálacha ar nós cumhacht, fuinneamh in-athnuaite, ionaid sonraí, foirgnimh chliste, iompar, agus cathracha cliste. Cuireann na réitigh seo bainistíocht fuinnimh chliste, fíor-ama ar fáil, ag feabhsú slándáil fuinnimh agus ag laghdú costais oibríochtúla. Cuirimid ar fáil AC Rochtain Dhíreach Céim Aonair DIN Iarnród Méadar Fuinnimh RS485 ar díol.
Cloíonn saoráid táirgthe na cuideachta, Jiangsu Acrel Electric Manufacturing Co., Ltd., le caighdeáin cháilíochta agus treoirlínte comhshaoil dochta, le hionaid tástála chun cinn agus tiomantas do phróisis táirgthe saor ó luaidhe. Seachadann foireann Acrel de bhreis is 500 innealtóir córais éifeachtúlachta fuinnimh den scoth agus réitigh fuinnimh chliste.
Le láithreacht láidir intíre, tá Acrel ag leathnú go gníomhach go hidirnáisiúnta, agus tacaíocht á fáil aige ó líonra domhanda foirne díolacháin agus teicniúla agus ardán ríomhthráchtála a chinntíonn eispéiris seirbhíse gan uaim ar fud an domhain. Tá Acrel bródúil as cabhrú le gnólachtaí éifeachtúlacht a fheabhsú, tomhaltas a laghdú agus spriocanna inbhuanaitheachta a bhaint amach.
Le chéile, táimid ag tógáil todhchaí níos cliste agus níos glaise.
Paitinní Údaraithe
0+Líon na gCustaiméirí a bhFreastalaíodh orthu
0+Iomlán na bhFostaithe
0+Bonn Déantúsaíochta
0m²Fáilte romhat ceangal I gcomhthéacs na forbartha go mear ar an tionscal fuinnimh nua, cásanna ar nós stóráil fuinnimh tráchtála agus tionsclaíoch , stáisiúin malartaithe ceallraí , agus córais stórála fótavoltach tí tar éis éilimh níos airde a chur ar an cruinneas...
Léigh TuilleadhCúlra Tionscail agus Tábhacht Feidhmchláir Feidhmíonn barraí bus mar chnámh droma na gcóras dáileacháin leictreach i dtionscail ó lascthrealamh, tiomántáin thionsclaíocha, inverters fuinnimh in-athnuaite, córais stórála fuinnimh ceallraí (BESS), agus leictreonaic cumhachta feithiclí leictreach...
Léigh TuilleadhCúlra Tionscail agus Tábhacht Feidhmchláir Tá glacadh tapa feithiclí leictreacha (EVanna) ag tiomáint riachtanais bhonneagair nua i dtimpeallachtaí cónaithe il-thionónta amhail coimpléisc árasán, foirgnimh úsáide measctha, agus tithíocht ilteaghlaigh. Murab ionann agus tithe teaghlaigh aonair,...
Léigh Tuilleadh